PC 본체 없이 컴퓨터를 쓸수 있다?
대답은 ?
맞기도 하고 틀리기도 합니다.
맞는 경우는 기준이 인터넷 정도 하는 경우입니다.
스마트 TV 사용하시면 인터넷 정도는 하실 수 있습니다.
틀린 경우는 윈도우기반 PC는 사용하기 어렵습니다.
원격,리모트로 PC를 사용하려고 해도 다른 PC나 휴대폰, 태블릿이 있어야 가능하겠죠.
여기에 게임을 하려면 본체없이는 불가능 하죠.
요즘은 휴대폰이 PC 역할을 하니 잘 키는 경우도 없습니다.
큰 화면에서 봐야 하는 경우나 PC게임을 하려는 경우가 아니면 사용을 안하죠.
이러다 보니 오래간만에 키려면 안켜지거나 느려서 못쓰거나 이렇게 되어 버리죠.
PC 본체는 자리만 차지하고 업그레이드도 귀찮고 고장나면 고치는데 돈나가고
없으면 안될까?
사실 이전에도 이런 기술은 이미 나왔습니다.
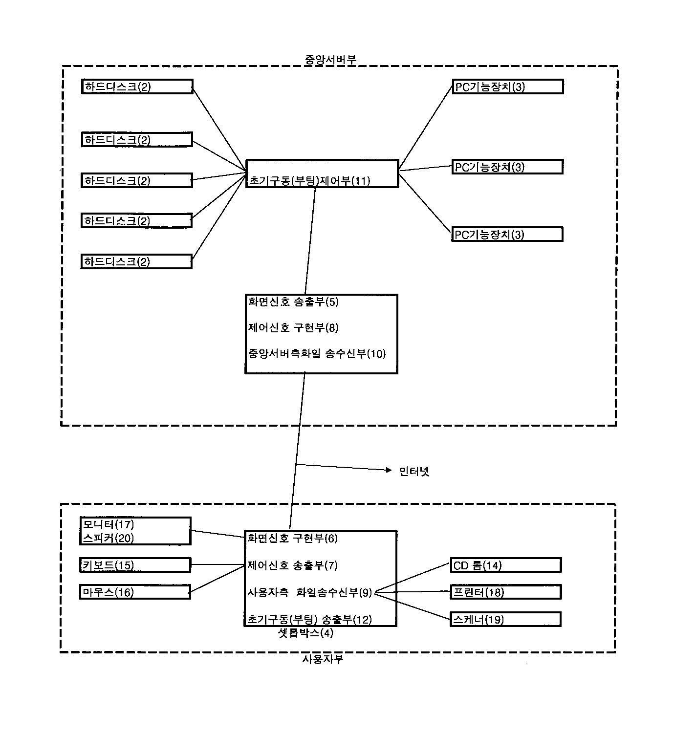
중앙집중 시스템이라고 PC한대 두고 모니터와 셋탑으로만 연결해서 사용하는 방식입니다.


무려 2008년에 나온 기술입니다.
사실 이때는 PC 사양이 낮아서 1:1로 접속하는 방식이였습니다.

KR20080089851A - 본체가 필요없는 중앙집중식 컴퓨터 - Google Patents
KR20080089851A - 본체가 필요없는 중앙집중식 컴퓨터 - Google Patents
사용자가 초기구동(부팅)송출부(12)에 구성된 버튼을 조작하여 중앙서버(1)에 구성된 초기구동(부팅)제어부(11)에 인터넷전화 형식으로 접속을 한후 사용자 고유 ID를 비밀번호 형식으로 인증을
patents.google.com
이 문서도 2007년에 나왔으니 이미 기술은 다 있습니다.
PC 사양도 월등히 좋아 졌으니 상용화 될 날이 올겁니다.
이와 관련한 기술이 어디까지 발전 되어있나 한번 볼까요?

스마트 TV용 Xbox 앱 | Xbox
스마트 TV용 Xbox 앱으로 Xbox 게임을 스트리밍하세요.
www.xbox.com
XBOX 게임패스 구독 하면 콘솔없이 인터넷만 되면 스트리밍으로 게임이 가능합니다.
인터넷 속도만 받쳐주면 딜레이도 없이 잘 구동 됩니다.
이정도 기술이면 충분히 가능합니다.
스마트 TV방식의 TV나 모니터만 구매하면 되고 여기에 키보드 마우스 연결하고
구독형으로 사양에 맞춰서 월 요금으로 내면 좋겠네요.
고사양 게임을 하고 싶으면 좀 비싼 요금을 내고 사용할일이 없으면 사용할때만 요금을 내면 좋겠습니다.
상용화 기다려 봅니다.
'IT관련' 카테고리의 다른 글
| 윈도우 업데이트 후 부팅 안될때 무한부팅 확실한 해결 방법 (0) | 2024.06.13 |
|---|---|
| MSSQL용 ReMong DataTransfer UTIL(무료) (0) | 2024.03.14 |